

章末测评验2 全反射
[学习目标] 1.知道光疏介质和光密介质,理解它们的相对性。2.通过演示实验观察全反射现象,理解临界角和发生全反射的条件(重难点)。3.了解全反射棱镜和光导纤维。
一、全反射
如图所示,让光沿着半圆形玻璃砖的半径射到它的平直的边上,在这个边与空气的界面上会发生反射和折射。入射角从0°逐渐增大,使折射角增大到90°的过程中,反射光线和折射光线会有怎样的变化?

答案 入射角为0°,折射角也为0°,光线沿直线射出;随着入射角的逐渐增大,折射角逐渐增大,折射光线亮度逐渐减弱;反射角逐渐增大,反射光线亮度逐渐增强;当入射角增大到某一角度时,折射角达到90°,折射光线消失,所有光线全部反射。

1.光疏介质和光密介质
(1)对于折射率不同的两种介质,我们把折射率较小的称为光疏介质,折射率较大的称为光密介质。
(2)光疏介质和光密介质是相对(填“相对”或“绝对”)的。
2.全反射现象
(1)全反射:光从光密介质射入光疏介质时,同时发生折射和反射。当入射角增大到某一角度,使折射角达到90°时,折射光完全消失,只剩下反射光的现象。
(2)临界角:刚好发生全反射,即折射角等于90°时的入射角。光从介质射入空气(真空)时,发生全反射的临界角C与介质的折射率n的关系是sin C=1n。
(3)全反射发生的条件
①光从光密介质射入光疏介质。
②入射角等于或大于临界角。

如表所示,分别列出了四种物质的折射率、密度值,据此思考以下问题:
介质 | 水 | 酒精 | 玻璃 | 金刚石 |
折射率n | 1.33 | 1.36 | 1.5~1.9 | 2.42 |
密度/(×103 kg/m3) | 1.0 | 0.8 | 2.5~3.0 | 3.52 |
(1)“两种介质相比较,密度大的介质一定是光密介质”,这种说法对吗?试举例说明。
(2)光从哪种介质射入空气更容易发生全反射?
答案 (1)不对,光密介质和光疏介质具有相对性,折射率是反映介质光学性质的物理量,与介质的密度没有必然联系。如酒精的密度比水的密度小,但其折射率比水的折射率大,酒精相对于水是光密介质。
(2)介质折射率越大,发生全反射的临界角越小,越容易发生全反射,故光从金刚石射入空气更容易发生全反射。

(1)同一束光,在光疏介质中的传播速度比在光密介质中的传播速度更大。( √ )
(2)发生全反射时仍有折射光线,只是折射光线非常弱。( × )
(3)光从空气射向水中时,只要入射角足够大,就可能发生全反射。( × )
(4)水或玻璃中的气泡看起来特别明亮,就是因为光从水或玻璃射向气泡时,一部分光在界面发生了全反射。( √ )
一束光以45°的入射角从AB面射入如图所示的透明三棱镜中,棱镜折射率n=2。试求光在AB面的折射角,并在图中画出该光束在棱镜中的光路图。

答案 30° 见解析图
解析 设光由AB面上的O点射入,由折射定律得,
sin r=sin in=\r(222=12,所以折射角r=30°。
设光线射到AE面上的D点,由几何关系得OD∥BE,
由几何知识可知光线在AE面上的入射角为θ=45°。
又sin C=1n=1\r(2)=2)2,所以C=45°。
因为θ=45°,故光线在AE面上发生全反射,由几何知识可知,光线将垂直于BE面射出,其光路图如图所示。

(2023·广州市高二期中)为了表演“隐形的大头针”节目,某同学在半径为r的圆形薄软木片中心竖直插入一枚大头针,并将其放入盛有水的碗中,如图所示。已知水的折射率为43,为了保证表演成功(在水面上看不到大头针),大头针末端离水面的最大距离h为( )

A.7)3rB.43rC.34rD.7)7r
答案 A
解析 只要从大头针末端反射的光线射到圆形薄软木片边缘界面处能够发生全反射,从水面上就看不到大头针,如图所示,根据几何关系有sin C=r\r(r2+h2)=1n=34,所以h=7)3r,故选A。

二、全反射棱镜
1.全反射棱镜的形状:截面为等腰直角三角形的玻璃棱镜。
2.全反射棱镜的特点:当光垂直于它的一个界面射入后,都会在其内部发生全反射,与平面镜相比,它的反射率高,几乎可达100%。
3.全反射棱镜的作用:改变光路。

4.全反射棱镜的应用:双筒望远镜、自行车尾灯、潜望镜等。
空气中两条光线a和b从方框左侧入射,分别从方框下方和上方射出,其框外光线如图所示。方框内有两个折射率n=1.5的全反射玻璃棱镜。下列选项给出了两棱镜的四种放置方式的示意图。其中能产生图中效果的是( )


答案 B
解析 四个选项的光路图如图:

可知选项B正确。
三、光导纤维
1.原理:利用了光的全反射。
2.构造:由内芯和外套两层组成,内芯的折射率比外套的大,光传播时在内芯与外套的界面上发生全反射。

3.光导纤维的应用
(1)光纤通信
①光导纤维的传播原理:光由一端进入,在内芯和外套的界面上经过多次全反射,从另一端射出,光导纤维可以远距离传播光信号,光信号又可以转换成电信号,进而转变为声音、图像。
②光纤通信的优点:传输容量大、衰减小、抗干扰性及保密性强等。
(2)医学上的内窥镜:内窥镜有两组光纤,一组把光传送到人体内部进行照明,另一组把体内的图像传出供医生观察。
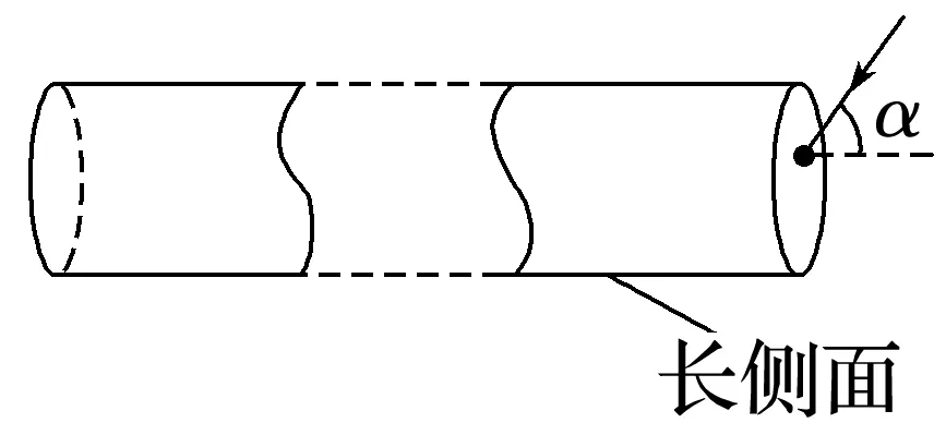
(2023·武汉市高二期末)如图长为L的一段直光导纤维,让一单色光线射向右侧截面某点,缓慢减小入射角α,发现减小至α=60°时便不再有光从长侧面逸出。已知光在真空中的传播速度为c。

(1)求该光导纤维对这种单色光的折射率;
(2)以不同入射角进入光导纤维的光信号传递到另一端所用的时间会有所不同,求最长时间。
答案 (1)7)2 (2)7L4c
解析 (1)当入射角减小至α=60°时,光恰好在长侧面发生全反射,如图所示,根据折射定律可得n=sin αsin r,根据sin C=1n,又r+C=90°,则有sin C=cos r,联立可得该光导纤维对这种单色光的折射率为n=sin2α+1=sin260°+1=7)2。

(2)单色光在光导纤维中的传播速度为v=cn,当入射角为α=60°时,光在光导纤维中传播的路程最长,则所用时间最长,根据几何关系可知smax=Lsin C=nL,则最长时间为tmax=smaxv=n2Lc=7L4c。
课时对点练

1~6题每题7分,共42分
考点一 全反射的理解与计算
1.(多选)关于全反射,下列说法正确的是( )
A.光从光密介质射向光疏介质时可能发生全反射
B.光从光疏介质射向光密介质时可能发生全反射
C.光从折射率大的介质射向折射率小的介质时可能发生全反射
D.光从传播速度大的介质射向传播速度小的介质时可能发生全反射
答案 AC
解析 光从光密介质射向光疏介质时,若入射角大于或等于临界角,能发生全反射,故A正确;光从光疏介质射向光密介质时不可能发生全反射,故B错误;相对而言,折射率大的介质是光密介质,折射率小的介质是光疏介质,则光从折射率大的介质射向折射率小的介质时可能发生全反射,故C正确;由n=cv知,传播速度小的介质折射率大,则光从传播速度大的介质射向传播速度小的介质时,即从折射率小的介质(光疏介质)射向折射率大的介质(光密介质)时,不可能发生全反射,故D错误。
2.(2023·深圳市高二期中)一束光线从折射率为1.5的玻璃射入空气,在界面上的入射角为45°。如图所示的四个光路图中正确的是( )


答案 A
解析 设玻璃的临界角为C,则有sin C=1n=23<2)2,可得C<45°,由题意知光线从玻璃射入空气时入射角为45°>C,所以光线将在玻璃与空气的界面上发生全反射收卷(二)
(时间:75分钟 满分:100分)
一、单项选择题(本题共7小题,每小题4分,共28分。在每小题给出的四个选项中,只有一项是符合题目要求的。)
1.关于做简谐运动物体的位移、速度、加速度的关系,下列说法中正确的是( )
A.位移减小时,速度增大,加速度也增大
B.位移方向总跟加速度方向相反,但跟速度方向相同
C.物体远离平衡位置运动时,速度方向跟位移方向相同
D.物体通过平衡位置时,回复力为零,故处于平衡状态
答案 C
解析 位移减小时,速度增大,加速度减小,故A错误;位移方向总跟加速度方向相反;当物体远离平衡位置时,位移方向与速度方向相同,当物体靠近平衡位置时,位移方向与速度方向相反,故B错误,C正确;物体通过平衡位置时,回复力为零,但合外力不一定为零,所以不一定处于平衡状态,故D错误。
2.一个弹簧振子在M、N之间做简谐运动。O为平衡位置,P、Q是振动过程中关于O对称的两个位置,下列说法正确的是( )

A.振子在从M点向N点运动的过程中,动能先减小后增大
B.振子在O、P间与O、Q间的运动时间相等
C.振子运动到P、Q两点时,位移相同
D.振子在从M点向N点运动的过程中,加速度先增大后减小
答案 B
解析 振子在从M点向N点运动的过程中,动能先增大后减小,A错误;由对称性可知,振子在O、P间与O、Q间的运动时间相等,B正确;由对称性可知,振子运动到P、Q两点时,位移等大反向,C错误;振子在从M点向N点运动的过程中,加速度先减小后增大,D错误。
3.做简谐运动的单摆,其摆长不变,若摆球的质量增加为原来的94倍,摆球经过平衡位置的速度减小为原来的23,则单摆振动的( )
A.周期不变,振幅不变 B.周期不变,振幅变小
C.周期改变,振幅不变 D.周期改变,振幅变大
答案 B
解析 由单摆的周期公式T=2πlg)可知,单摆摆长不变,则周期不变;摆球经过平衡位置的速度减小而摆动周期不变,则一个周期内通过的路程变小,即振幅变小,故B正确。
4.如图所示,光滑直杆上弹簧连接的小球以O点为平衡位置,在A、B两点之间做简谐运动。以O点为原点,选择由O指向B为正方向,建立Ox坐标轴。小球经过B点时开始计时,经过0.5 s首次到达A点。则小球在第一个周期内的振动图像为 ( )


答案 A
解析 小球经过B点时开始计时,即t=0时小球的位移为正向最大,经过0.5 s首次到达A点,位移为负向最大,且周期为T=1 s。故A项图像正确。
5.一竖直悬挂的弹簧振子,下端装有一记录笔,在竖直面内放置有一记录纸,当振子上下振动时,以速率v水平向左匀速拉动记录纸,记录笔在纸上留下如图所示的图像。记录笔与记录纸之间的摩擦和空气阻力都可忽略不计。y1、y2、x0、2x0为纸上印迹的已知位置坐标,则以下说法正确的是( )

A.振子平衡位置的纵坐标是y=y1-y22
B.该弹簧振子的振动周期为x0v
C.振子在坐标\rc\)(\a\vs4\al\co1(x0,y2)位置时加速度最大
D.匀速拉动纸带的速率增大为原来的2倍,振子振动的周期变为原来的12
答案 C
解析 根据简谐振动对称性可知,平衡位置纵坐标为y=y1+y22,故A错误;由图像可知,振子在一个周期内沿x轴负方向的位移大小为2x0,水平速度大小为v,则振子的周期T=2x0v,故B错误;由图可知,振子在坐标\rc\)(\a\vs4\al\co1(x0,y2)位置时处于最大位移处,则回复力最大,由牛顿第二定律知加速度最大,故C正确;弹簧振子的周期只与弹簧振子本身有关,匀速拉动纸带的速率增大为原来的2倍,则一个周期内纸带沿x轴负方向运动的位移增大为原来的2倍,弹簧振子的周期不变,故D错误。
6.甲、乙两个单摆的振动图像如图所示,根据振动图像可以断定( )

A.甲、乙两单摆振动的周期之比是3∶2
B.甲、乙两单摆振动的频率之比是2∶3
C.若甲、乙两单摆在同一地点摆动,则甲、乙两单摆摆长之比是9∶4
D.若甲、乙两单摆摆长相同,在不同地点摆动,则甲、乙两单摆所在地的重力加速度之比为9∶4
答案 D
解析 根据图像可知,甲和乙的周期之比为T甲∶T乙=2∶3,故A错误;因为f=1T,所以甲、乙的频率之比为f甲∶f乙=3∶2,故B错误;根据单摆的周期公式可知T=2πlg),同一地点,重力加速度相同,则甲、乙的摆长之比和周期的平方成正比,即为4∶9,故C错误;摆长相同,重力加速度和周期的平方成反比,即甲、乙两单摆所在地的重力加速度之比为9∶4,故D正确。
7.如图甲所示,金属小球用轻弹簧连接在固定的光滑斜面顶端。小球在斜面上做简谐运动,到达最高点时,弹簧处于原长。取沿斜面向上为正方向,小球的振动图像如图乙所示。则( )

A.弹簧的最大伸长量为4 m
B.t=0.2 s时,弹簧的弹性势能最大
C.t=0.2 s到t=0.6 s内,小球的重力势能逐渐减小
D.t=0到t=0.4 s内,回复力的冲量为零
答案 C
解析 小球的振幅等于振子位移的最大值,由图乙读出,振幅为A=2 cm,由于当振子到达最高点时,弹簧处于原长,所以弹簧的最大伸长量为2A=4 cm,A错误;t=0.2 s时,弹簧处于原长,弹簧的弹性势能最小,为零,B错误;t=0.2 s到t=0.6 s内,小球由最高点向最低点运动,小球的重力势能逐渐减小,C正确;t=0时小球经过平衡位置沿斜面向上运动,t=0.4 s时小球经过平衡位置沿斜面向下运动,回复力方向都为斜向下,根据动量定理可知回复力的冲量不为零,D错误。
二、多项选择题(本题共3小题,每小题6分,共18分。在每小题给出的四个选项中,有多项符合题目要求。全部选对的得6分,选对但不全的得3分,有选错的得0分。)
8.弹簧振子做简谐运动,若从平衡位置O开始计时,经过4 s振子第一次经过P点,又经过了1 s,振子第二次经过P点,则该简谐运动的周期为( )
A.5 s B.6 s
C.14 s D.18 s
答案 BD
解析 如图,假设弹簧振子在水平方向B、C之间振动,

若振子计时开始先向右振动,振子的振动周期为T=4×(4+12) s=18 s
若振子计时开始先向左振动,设振子的振动周期为T′,则T′2+(T′4-12)=4 s
解得T′=6 s,故B、D正确。
9.(2023·湘鄂冀三省七校联考)如图所示为一单摆做简谐运动时的速度随时间变化的图像,不考虑空气阻力的影响,下列说法正确的是( )

A.此单摆的摆长约为1 m
B.t=1 s时单摆的回复力为零
C.若减小释放单摆时的摆角,单摆的周期变小
D.将此单摆从赤道移至北极,单摆的周期变小
答案 AD
解析 此单摆的周期为T=2 s,则根据T=2πlg),可得摆长l=gT24π2=9.8×224×3.142 m≈1 m,选项A正确;t=1 s时单摆的速度为零,此时单摆的回复力最大,选项B错误;单摆的周期与摆角无关,选项C错误;将此单摆从赤道移至北极,则重力加速度变大,根据T=2πlg),单摆的周期变小,选项D正确。
10.将一个力传感器接到计算机上,就可以测量快速变化的力,用这种方法测得的某单摆振动时悬线上拉力的大小随时间变化的曲线如图所示。某同学由此图像提供的信息作出下列判断,其中正确的是( )


通过网盘分享的文件:【淘宝店:品优教学】赠送等3个文件
链接: https://pan.baidu.com/s/1W_-FY-AxO_3dspNZY2P-vQ?pwd=4321 提取码: 4321
--来自百度网盘超级会员v8的分享